ShodhKosh: Journal of Visual and Performing Arts
ISSN (Online): 2582-7472

ENACTING THE GODS: THE PERFORMANCE OF HAOBA NURABI EPISODE IN THE LAI HARAOBA OF MANIPUR

Enacting the Gods: The Performance of Haoba Nurabi Episode in the Lai Haraoba of Manipur

 

Kshetrimayum Premchandra 1Icon

Description automatically generated

 

1 Assistant Professor, Department of English, Tripura University, Suryamaninagar-799022, Tripura, India

 

A picture containing logo

Description automatically generated

ABSTRACT

This paper examines the performance of the Haoba Nurabi episode in the Meitei Lai Haraoba of Manipur. It attempts to delve into the intricate rituals of Lai Haraoba, a celebration that combines elements such as dance, music, sports, and sacred ceremonies to honour the presiding deities. The paper also provides insights into the performance space known as the laipung, shedding light on the staging and realisation of this traditional performance style. Throughout this paper, the terms drama, theatre, and performance are used interchangeably with due emphasis on spectator experience rather than the technicalities of the terms and methodological challenges. The episode under consideration reenacts the interactions between the divine lovers Haoba and Nurabi, who initially fail to recognise each other, which offers moments of humour and clever dialogues while performing activities like tilling, sowing, and harvesting. With multiple constituent elements making this propitiatory festival an entity unto itself, Lai Haraoba holds significance within India's broader landscape of performance traditions. And Haoba Nurabi sets itself apart within the ritual-rich ambience of the Lai Haraoba festival by exhibiting structural and presentational similarities to contemporary drama.

 

Received 11 October 2023

Accepted 10 January 2024

Published 23 January 2024

Corresponding Author

Kshetrimayum Premchandra, kshetrisingh@tripurauniv.ac.in

DOI 10.29121/shodhkosh.v5.i1.2024.725  

Funding: This research received no specific grant from any funding agency in the public, commercial, or not-for-profit sectors.

Copyright: © 2024 The Author(s). This work is licensed under a Creative Commons Attribution 4.0 International License.

With the license CC-BY, authors retain the copyright, allowing anyone to download, reuse, re-print, modify, distribute, and/or copy their contribution. The work must be properly attributed to its author.

 

Keywords: Manipur, Ritual, Lai Haraoba, Sacred Space, Theatre, Drama, Performance

 

 

 


1. INTRODUCTION: Contemporary Drama and Other Performances

In a historic achievement, a theatre troupe from Manipur clinched their first-ever victory outside their home state at the theatre festival/competition in New Delhi, which took place from November 22 to December 25, 1954. The festival was divided into four categories: modern, traditional, folk, and historical. It was meant for 15 languages which were included in the Eighth Schedule of the Constitution of India. Legend has it that Manipuri, a non-scheduled language at that time, was permitted to stage a play with the consent of the then Prime Minister Pandit Jawaharlal Nehru. Manipur Dramatic Union (MDU) represented Manipur and staged Sarangthem Bormani’s “Haorang Leishang Shaphabi.” The play was adjudged first position in the ‘folk category.’ It is said that the play enthralled both the audience and the judges alike. The play incorporated elements from Lai Haraoba or Umang Lai Haraoba, which is regarded as a propitiating festival/ceremony spanning many days of presiding deities intrinsic to the culture and tradition of Manipur. The above example is cited just to elaborate on how vital Lai Haraoba is in the discourse of Manipuri performance traditions.

The pursuit of spectacle, rituals, and ceremonies by the court of Manipur can be compared to the Balinese culture, which Geertz (1980) describes as a ‘theatre state’ where the “kings and princes were the impresarios, the priests the directors, and the peasants the supporting cast, stage crew, and audience” (p. 2). The kingdom of Manipur loved spectacle and ceremonialism, and mass rituals ran deep in the court as well as the sacred grounds. So, when Modern/Western proscenium theatre made inroads in Manipur in the early Twentieth century via Bengali officials of the British Raj, the court and the people of Manipur accepted it wholeheartedly.

There was a sizable Bengali population in the present-day Babupara (formerly Haobam Marak) in the heart of Imphal. They celebrated Durga Puja, Saraswati Puja, Kali Puja, and other religious festivities, where they incorporated dramas in the Western format to entertain themselves. It would be noteworthy to mention that the Bengalis had their brush with Western theatre in 1795 with a short-lived play by Gerasim Lebedeff Sen (1960), p.175. They tried to replicate in Manipur what was prevalent in Bengal at the Puja pandals and makeshift spaces, but the first theatre with a proper stage was constructed at the residence of Bamacharan Mukherjee in 1903 with the establishment of a theatre team called Bamacharan Mukhopadhyay Bandhav Natyasala Singh (1980), p. 31. But it was hardly a shed rather than a theatre house. A theatre hall was then constructed with the patronage of Maharaja Churachand and the British Political Agent Colonel Shakespeare in 1905 and called it “Manipuri Friend’s Dramatic Union.” Since then, two or three plays were staged every year during Durga Puja. The actors were a mix of Bengalis and Manipuris, but the language of the plays was Bengali. It was only on September 30, 1925 that the first play in the Manipuri language called Nara Singh, written by Lairenmayum Ibungohal was staged at the palace. It marked the beginning of proscenium theatre in Manipur, performed in the Manipuri language.

Other performances which were not traditionally Manipuri also started flourishing alongside proscenium theatre on the fertile soil of Manipur. Sumang Lila (courtyard plays) and Fagi Lila (comic plays) are notable ones. The direct interpretation of Western theatre can be found in Sumang Lila with traces of jatra. According to Singh (2012) sumang lila is the “lila in which a few artists perform without much props at a courtyard or an open space surrounded by an audience. The performance is characteristic of witty dialogues and appropriate body movements, thus giving the audience the flavours of many rasas” (p. 10). Shyamsunder further contends that not all the ‘courtyard’ performances can be called sumang lila. After the advent of Vaishnavism in Manipur, many religious plays based on the life of Shri Krishna and other episodes from the epics and Puranas were performed at the courtyard or the mandapa. These performances include Udukhol, San Senba Lila (Krishna tending the herd), Goura Lila, etc. Technically speaking, all the performances come under the ‘courtyard’ plays. However, to clear the definitional confusion, the Manipur State Kala Akademy, in its General Body meeting held on 15 January 1976, called the religious plays jatra, and the non-religious one was named sumang lila or courtyard plays (pp. 10-11).

It took considerable time for the people of Manipur to rediscover and experiment with their diverse performance traditions within the realm of an independent Manipuri theatre. Among these traditions are performances like Rasa Lila, Thang-Ta (Sword and Spear), Wari Leeba (narrative storytelling performances), Khongjom Parva (musical storytelling), and various other forms, all of which have been cultivated and refined in the cultural soil of Manipur. Most notably, there is Lai Haraoba, revered as the cornerstone of all Manipuri performances.

For ages, Lai Haraoba has been delivering the essential spectacle while simultaneously fulfilling its religious and ritual obligations. The laipung (sacred space) has hosted many great singers, performers, and dancers. This very laipung has received creative expressions and stored them for posterity. It is no wonder that many performances that constitute the Lai Haraoba are characterised by meticulously defined conventions, rites and rituals, and ceremonials that underwent changes and innovations. Having said this, the Haoba Nurabi episode is distinctly different from other constituent elements, for it exhibits a higher level of refinement and standardisation in the aspects of performance, music, makeup, costume, reception, and, most importantly, popularity.

 

2. Lai Haraoba and its Aspects

Social dramas are embodied in ritual, where they have paradigmatic functions that make clear the deepest values of the culture Bell (2009), p. 41. There must have been a transition from rituals to drama. Furthermore, whether the origin of performance is ritual is another debate. But many theorists share Richard Schechner’s confusion as seen in his statement, “At one moment ritual seems to be the source [of performance], at another it is entertainment.” As we progress in the paper, we shall also see that binary continuum efficacy/ritual-entertainment/theatre is what Shechner calls ‘performance’ Schechner (2005a), pp.136-140). Lai Haraoba serves as an exemplary illustration of rituals that effectively act as theatrical performances, conveying societal truths and the perspectives held by its members about those truths. At the same time, it provides ‘entertainment’ to a congregation of persons who are believers and, at the same time, act as spectators. Lai Haraoba is, in fact, a perfect mix of ritual and entertainment.

So, we come to the very intricate Meitei Lai Haraoba and its many facets and how vital the ritual festival is in a Manipuri’s worldview and the history of performance of the state. Firstly, a glance at the definition provided by Singh (1963), who was the second-ranked Pandit at the Pandit Loishang (Institute of Scholars) in his seminal book Meitei Lai Haraoba, a book which codified the Lai Haroba. He wrote:

Asheebana Prithivi semba loiraga taibangpan asida panba jeeva sembagi maramda nungbangnana leiringeida guruna maya kathoktuna gurugi pibuknungda taibangpanda pangadaba jeeva pumnamak utpiba adu ubada Asheebana nungaibaga loinana laoduna houdoklakpa adubu ‘lai hoi lauba’ kou-e. Madugee matou tamduna meeoibana laina pennaba sanababu lai haraoba kou-e. (p. 1)

After Asheeba created the earth, he found himself perplexed and befuddled, unsure of what should inhabit the world he had just created. Recognising Asheeba's confusion, the Supreme Creator opened his mouth, revealing to Asheeba all the living beings meant to inhabit the earth. Delighted and satisfied, Asheeba exclaimed 'hoi' and brought forth these living beings from within the Creator. Human beings later reenacted Asheeba's achievements and jubilation, and this ritual of pleasing the gods became known as Lai Haraoba. [author’s translation]

Ngariyanbam Kulachandra Singh only provides the etymology of the term Lai Haraoba and its divine origin. We also know what happens in this festival as we shall see subsequently. However, the complexity of this festival is unforgiving. Many have tried to define it, but there still is a sense of lack in these attempts. The absence of a conclusive definition for Lai Haraoba arises from the rich, intricate, and multi-layered connotations associated with every step and stage of the propitiating festival.

Nevertheless, one can glean insights from observing this celebration, which vividly portrays the narrative of human creation right from the turning of the vital energy into limbs, eyes, ears, etc., inside the womb, birth and inhabiting the earth, building shelters and houses, agriculture and farming, weaving, and handicraft, through songs, dances, and rituals. This festival's religious and spiritual aspect is the celebration of the creation, preservation and propagation of life and a sense of community healing. The Meiteis (the majority tribe of Manipur, also spelt Meetei) believe that such reenactments will bring peace and safeguard sustenance in the land.

Lai Haraoba is described as a propitiating festival or pleasing of the gods, both widely accepted and employed descriptions today. There are four major kinds or variations of Lai Haraoba and they are 1) Kanglei Haraoba, 2) Moirang Haraoba, 3) Chakpa Haraoba, and 4) Kakching Haraoba. The inclusion or exclusion of certain ritualistic practices and localisation of the haraoba differentiates these four different styles. However, the core objectives of the haraoba remain the same in all of them. The core objectives which provide equilibrium to the realm are 1) bigger villages and state (death and disease-free realm), 2) abundant rice and fish (bountiful harvest and other produce), and 3) long life for the king and his family (political stability).

The propitiated gods are called Umang Lais (literally meaning gods who reside at sacred groves). They are gods from the Meitei creation myth; some are ancestral deities, and some are deities who protect and watch over villages and the villagers. This pleasing festival is carried out at the laipung (sacred ground) where the lai (deity to be propitiated) resides. The laipung is an open, circular space within an umang or sacred grove. The annual festival is carried out with the active participation of villagers as performers with an audience.

From the ritual perspective, Lai Haraoba can be broadly divided into recurring and non-recurring ceremonies. Recurring rituals are those which are performed every day. Non-recurring rituals are performed only once, and they occur either on the first day of the appeasement ceremony or on the concluding day of the ceremony. The Tangkhul-Nurabi episode is only performed once on the concluding day of the festival.

 

3. Laipung: The Sacred (Performance) Space

Meiteis believe that the Lai Haraoba is a gift of gods. It is us human beings who learn the dance movements of gods through imitation and replicate it on earth. Therefore, it is only natural that the performance would take place in a sacred space. This space is known as laipung, which is a conflation of two words – lai, meaning god/deity and pung, meaning mound or ground. It is at this space that the appeasement rituals are performed. Since Manipuris got Lai Haraoba from the gods, laipung, the performance space, must be the earthly model of the divine space. However, it is essential to note that this idea is not unique to Manipuri culture alone. The belief in a divine origin for both performance and the space in which it takes place is a widespread concept that transcends cultural boundaries and can be observed in various cultures around the world. To put it into context, let us see what Awasthi (2001) writes about the divine origin of theatre in India and its link with temples:

In a tradition in which the drama has been taken as a gift of gods, it was but natural that theatre would find a place in the temple, the abode of gods. The temple, as a link between earth and heaven is the most appropriate place for the presentation of drama dealing with the God’s lila (divine deeds) and his avatar roop (incarnation form). (p. 10)

The above quote explains the triangulation of God, theatre/performance, and temple/performance space. However, the Manipuri notion of the above three is more complicated than one can imagine. For a performance to take place, we need to know where the god (lai) resides. Manipuri notion of god or lai is as complex as it can get:

When a lai resides in a Manipuri house, the lai becomes yumlai (yum=household+lai). The term lamlai (lam = open space + lai = god/deity) is used when the presence of a lai is perceived at or on a certain geographical space/area like a meadow or an open space. The clan god/deity is known as sageilai which is again a conflation of sagei = clan+lai = god/deity. Maikei ngakpa lai (maikei = direction+ngakpa = to protect+lai) is a tutelary or guardian deity. Other lais are believed to have resided in hills, rivers, lakes, trees, etc. Above all these lais, there are other lais associated with the Meitei creation myth. To make matters worse, Manipuris also use the term lai to denote evil spirits (malevolent) and good spirits (benevolent).  Premchandra (2022), p. 48

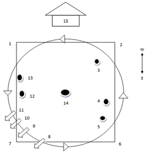
The sketch below describes how the performers use the performance space.

Figure 1

Figure 1 Laipung (the Sacred Space)

1. Thangching, 2. Koupru, 3. Where Konsabi and Tharainu sits, 4. Place where Haoba is bitten by a bee/where he shows pain, 5. Where beehive is harvested, 6. Marching, 7. Wangpuren, 8. Ashi thong (the door of death), 9. Achang Thong (the door of the living), 10. Eram, 11. Khonglam (10 and 11 are connecting canals and waterways), 12. Lukhra Khong (the canal of the widows), 13. Pakhra Khong (the canal of the widower), 14. Nadayai-shidayai Pung (death and disease free space), and 15. Laishang (temple)

Manipur being a ritual state, performance can occur wherever a lai's presence is felt and perceived. For example, whenever Meiteis go out on a picnic or eat in open spaces far from home, they make food offerings to lamlai (perceived deities who exercise overlordship over the space) before they eat. So, the nature of the space changes when someone adds ritualistic offerings. The space gets sanctified, and the perceived lai is appeased. This appeasement concept is what one finds in the performance of the Haoba-Nurabi at the laipung.

“Every sacred space implies a hierophany, an eruption of the sacred that results in detaching a territory from the surrounding cosmic milieu and making it qualitatively different Eliade (1959), p. 26. In this way, a laipung serves as an excellent centre of the Meitei faith and community, making it qualitatively different from other spaces where other lais are perceived. The love of dance, music, and sports by the Manipuris is expressed here at this laipung. Pena players (a traditional stringed musical instrument), bards, shamans, and other learned scholars from the kingdom’s institutes contributed to the making of Lai Haraoba as we see it today. Their compositions, dance movements, rituals, and other creative expressions were added from time to time to make Lai Haraoba a complete performance unto itself.

The whole space where the performance takes place is referred to as nadayai sidayai pung, which roughly translates into the ‘space free from death and disease.’ The four corners of the oval-shaped laipung point towards hills where the four major deities reside: Thangching, Koupru, Marching, and Wangpuren. It happens so because the temple where the lais (deities) sit to preside over the day's proceedings always faces the East. The door of the death (ashi thong) is imagined to be slightly ajar. In contrast, the door of the living is widely opened. It is thus presumed because the central idea of the propitiating festival is for a land free from death and disease. Therefore, death is shunned, and birth is welcomed. Pakhra Khong and Lukhra Khong also bear similar interpretations from the standpoint of procreation and populating the land. Over and above all these, the propitiated deities must be accompanied by their consorts. Deities who do not have consorts are not propitiated. The reason is the associated male and female energies, which must be perceived and emulated by the devotees.

The spot occupied by the characters Konsabi and Tharainu is a symbolic depiction of a market. It is not the market that one can see in Manipur. It is instead the Leichon Keithel or Market, which the Meitei goddess of wealth, Emoinu, graced once. It is believed to be on the Northern side of the Koupru Hills. In this performance, a complete set of activities enabling a people's sustenance is depicted. It includes farming, horticulture, and the accumulation of wealth through buying and selling at the market. It also illustrates how Meitei women have been controlling the internal economy of Manipur for ages.

Haoba's comic encounter with bees and subsequent actions become pivotal in the performance. In some Lai Haraoba renditions, Haoba's bee sting is portrayed as so excruciating that it leads to comedic consecration, eliciting laughter and amusement from the audience. However, this irreverent episode within the sacred setting does not detract from the central theme of the performance, which is the celebration of procreation. The message of procreation remains paramount, reminding spectators of their roles and responsibilities as males and females. The bee's sting symbolically represents the physical encounter between the main characters, and the act of harvesting and enjoying the beehive together represents the bountiful "harvest" or growth in population.

 

 

 

4. The Haoba-Nurabi Episode

Manipuri drama has come a long way. It has already marked a century of performance in the year 2002. But true drama has been part of Manipuri performance traditions in all its aspects and senses. Regarding this, one of the stalwarts of Manipuri theatre, Somorendra (2000), had this to say:

In a span of almost a century which is of course a very short period, drama took a good stride in Manipur and a lot of changes have occurred in its form and content in the last quarter of the 20th century. It was because of the fertility of Manipur's culture, and specially so in the case of drama in which has been found embedded alive in the aged old religious performance of the Laiharaoba. The Tangkhul Saram Pakhang (the youth, Tangkhul Saram) and Nurabi (Maiden) episode with exchange of dialogue, songs and its conflict of claiming the ownership of the land is really a drama in action. (p. 32)

Arambam Somorendra's accounts shed light on the presence of drama within the culturally rich performances of Manipur, even before the introduction of proscenium theatre into the kingdom. Somorendra mentions the Haoba-Nurabi episode from the ancient ritual performance because it is much closer to modern drama with dialogues and costumes. A similar view is also expressed by Singh (2013), a critic and literary historian when he says that “The Manipuris already past masters in dance, music and later jatra, took to the new form of performance [proscenium theatre] like a duck to water” (pp. 234-35).

Figure 2

Lairoi Numit including Haoba Nurabi Khumei at Umanglai Haraoba (Kanglei) Festival, 2013  :: 07 December 2013

Figure 2 Haoba Appears at the Sacred Performance Space Ningthoujam (2013 a)

 

The Haoba Nurabi episode recounts the meeting of Nongpok Ningthou and Panthoibi, two principal deities in the Meitei pantheon, Tangkhul and Nurabi. According to Panthoipi Khongkun (2012), (The Footprints of Panthoipi), a text on the goddess Panthoibi, Sokchrongba of the Khaba clan asked the hand of Panthoibi, who was the daughter of Taoroinai, for his son. Panthoipi possesses numerous qualities, and she is characterised as "[…] mongpa thangga ningolkata tampan atom yatahanpi leima lairoklenpi lairu langpi […] (20)." In a straightforward interpretation, this phrase conveys, "you are the maiden who sleeps in the assigned maiden's chamber at your father's residence." This suggests that Panthoipi remained unmarried until she married into the Khaba clan. Nonetheless, she had already been promised to Nongpok Ningthou (Haoba) in a prior sayon or avatar. The reason behind her departure from her intended husband to unite with Haoba stems from a previous agreement with Marjing during their earlier sayon. From day one of the marriage, she pretended to be possessed and ultimately vanished from the Khaba household only to appear at the Nongmaiching to be united with Haoba. Wayenbam Lukhoi Singh elucidates why the divine lovers fail to recognise each other upon meeting at Nongmaiching. In their previous incarnation, the lovers had decided to be reborn as Haoba and Nurabi. Haoba's task was to seek out Nurabi, identifying her by the conjoined gourd she carried. Initially overlooking the gourd, Haoba instigated a quarrel, leading to subsequent events Singh (2008), pp. 107-108).

The performance under discussion depicts the meeting of Nongpok Ningthou and Panthoibi disguised as Tangkhul Huitok Pakhang and Saram Nurabi while hiding from the Khaba clan. Haoba asked Nurabi to meet him at the Saramching of the Chakha Hill range. Haoba (Tangkhul) met Nurubi while she was tilling the ground for sowing rice. Seen as a ritual performance, the act begins with an invocation followed by meticulously performed rituals of tilling and sowing the proper processes of harvesting them. What makes this act unique is the involvement of trained characters who are extrinsic to everyday rituals. This act provides comic interludes to an otherwise profound ritual realisation of Lai Haraoba. According to Gourachandra (2015), it is argued that numerous ritual songs were taught to the people of Kakching and incorporated into Kakching Haraoba during the reign of Maharaja Churachand (1891-1941). These songs Oukri and Khencho, which have become integral to Lai Haraoba, were originally adopted from Kanglei Haraoba (109). This observation suggests that Lai Haraoba allowed for both additions and omissions, raising the possibility that the comedic interlude provided by Haoba may have been an inspired addition.

 

5. The Performers and the Performance

The duration of the Haoba Nurabi act differs from performance to performance depending on the spectators' demand and Haoba’s crowd interaction. As mentioned earlier, it is the only performance in the entire Lai Haraoba celebration where hired actors become a part of the propitiating festival until the performance is over. This enactment, often referred to as loutarol or the "language of tilling the field," portrays the promised meeting of these two divine lovers. The encounter between the two is light-hearted, incorporating elements like humour, mythology, sacred chants, and playful interactions. After this act is over, other performances will follow until the day’s activities are over. 

Performers/Actors:

1)     Tangkhul Saba (hired actor),

2)     Nurabi (she-shaman who is already part of the daily proceedings)

3)     Seven helpers of Nurabi (Hired actors)

4)     He-shaman (who is already part of the daily proceedings)

Later Additions:

5)     Meitei Lambu (an old man who is the owner of the land– hired actor)

6)     Konsabi (an old woman who is a trader – hired actor)

7)     Tharainu (Konsabi’s helper – hired actor)

The following enumerated events in the enactment must be followed strictly so that the deities are not angered. We can divide the performance into three Acts with an Invocation. One to two is the invocation. The first Act is from three to six. The second Act is from seven to nine. The final Act is from ten to twelve.

Events as they unfold:

1)     Maiba (he-shaman) sings the invocation

2)     Maibi (she-shaman) sings the louta eshei or loutarol as a follow on of the invocation

3)     Nurabi (Maibi) sings louyan eshei and her female mates sing the chorus

4)     Haoba’s entry

5)     Haoba pretends to shoot arrows in four different directions

6)     Tangkhul and Nurabi come face to face but do not recognise one another. Expresses their feelings through songs called khutlang eshei awai akhum

7)     They fight for the land where they till

8)     Meitei Lambu meddles and stops the fight

9)     Their true identities are revealed, and till the land together

10) Bees bite Haoba

11) They harvest the beehive and eat it together

12) They sing louka eshei and end the performance

The Haoba-Nurabi episode in Lai Haraoba begins with an invocation sung by the maiba or the he-shaman. This invocation is sung so that the audience forgives the performers if any mistake was committed while performing. These songs also ask the deities to bless the land for pest-free crops and good harvests. Long and peaceful lives for the citizens and the king’s family. This paper does not include the song sung and many others for want of space.

Figure 3

Lairoi Numit including Haoba Nurabi Khumei at Umanglai Haraoba (Kanglei) Festival, 2013  :: 07 December 2013

Figure 3 Haoba, Nurabi, and Her Co-Workers till the Land Ningthoujam (2013, b)

 

The maibi, on the other hand, continues the invocative part with another song, dedicating it to the presiding deities. The song she sings is called Loutarol, or the song of the first day at the field. The same song can be found in the old treatise called Khamlang Ereng Puwari. She sings:

Ha! The owner of the plough of the universe

The cracking of the fallow earth begins

Tools and implements have been brought out

Let’s till the land, let’s say he – hou – hei – hou

He – he – yiyo, he – he – he – yiyo.

Beginning the song thus

Like all the gods who assembled

And began the tilling of the field

We, those who populate this big village

We, the shamans of this realm

Rubbing shoulders with the rhapsodists

In hordes of groups and subgroups

Singing the loutarol song sung by the gods

We present to you this song again

Forgive us our mistakes, forgive our iniquities

For you are magnanimous, for you are benevolent

We seek permission from you two

To till the land

For the big village under your Lordship

For big and high-yielding paddy stems and grains

Grant us a bountiful and pest-free harvest

We pray to you Lord of the Lords

We pray to you Consort of the Consorts.

 

The exposition part of the performance begins after the invocative songs. Here, Nurabi and her fellow workers sing a song together. They act as if they were digging the earth for sowing paddy. This song is called louyan eshei, or tilling/digging song while taking a round of the laipung anti-clockwise.

My father’s field it is                                                  Hey yanse [Let’s till/dig].

My forefathers’ field it is                                          Hey yanse

Till the field for a peaceful kingdom                     Hey yanse

Till the field for the king’s long life                       Hey yanse

Till the field for a prosperous kingdom               Hey yanse

Till the field for bountiful crops                             Hey yanse

Till the field for long lives                                        Hey yanse

Till it for it is the field for sougri and mayangba    Hey yanse

Till it for it is the field for lomba and fadigom    Hey yanse

Till it for it is the field for fourel and foujao       Hey yanse

Till it for it is the field for singkha and singthum    Hey yanse

 

Words in italics are names of Manipuri herbs, vegetables, rice, and eatable roots. Here the workers are talking about farming the land apart from cultivating rice, which is the staple for Manipuris. Towards the end of this song, the actor who acts as Haoba enters the performance space from the Northwest side of the sacred space. It is the ‘rising action’ in the performance. Haoba’s costume is elaborately explained in Panthoipi Khongkul (2012), transliterated by Moirangthem Chandra Singh:

Masampi langmai ningtou yoyrenpati Tangkhul huitek pakhangpapu sana chayrei, yungchingna nanlao shengkmana sharing-feithekna chumpul lallei themhuyroi chumphalchil lolei kokhupna kurao falang thang yairi khongthomna Tangkhul toro leikham thang, thanglen chachingninglongpapu naktayepna tentong namta hul lirung shapainana Tangkhul yayrong namipa phipu chayrei khaonnana khuthang mitamshingna hempa khullanpapu shana laklakye. (p. 117)

His Lordship Nongpok Ningthou Yoirenba Huitok [Haoba] appears as a Tangkhul youth wearing the Tangkhul dress, wrap-around above the knee and the upper garment tightened diagonally over the chest. His head is adorned with headgear with animal horns and flowers. He wears a sheath at his waist made from kurao [a tree] with strings made from vines and carries in it the Tangkhul dao called torthang. On his back, he holds a quiver filled with arrows and a bow in his hand. He also wears a long Tangkhul cloth as a carry bag across his shoulder and walks as someone who is crossing a village towards a destination. [author’s prosaic translation]

Haoba is played by someone who can sing, dance, do mimicry, and be good with retorts and improvisation. The entire performance rests on his antics while the other characters fulfil the ritualistic needs. He comes towards the South-West and gestures, shooting an arrow. From there, he goes towards the North-East, then to the South-East, repeating the same motion of shooting an arrow. Finally, he comes towards the centre of the sacred space and pretends to shoot an arrow towards the sky and then to earth while facing the presiding deities. This space is known as laiboula thapham or the space where the offerings are made on a banana leaf for the start of the daily ceremony. After this, Haoba disrupts Nurabi and her co-workers and argues that it is his land, not hers. A verbal fight ensues, and this fight is expressed in the form of khutlang eshei awai akhum or the workplace duet.

The khutlang eshei, sung by both Haoba and Nurabi, exhibits variations from one locale to another, owing to the inherent space for improvisation. Nevertheless, numerous individuals have standardised these songs over the years, resulting in an established format. The core theme of their performance centres around self-identity, as they remain unaware of each other's true selves. This duet showcases their cleverness, laced with the subtle emotions of the heart and the fervent desires of youth. Eventually, the duet reaches its conclusion when Haoba affectionately addresses Nurabi as "O! Nongmai Nurabi" three times.

Meitei Lambu disrupts the fight over the tilling rights of the land, which the spectators know as a hillock in the Saramching (a hill range) even though the performance is happening at the sacred ground. He is successful in bringing reconciliation between Haoba and Nurabi. The conflict is resolved, and the ‘falling action’ begins. After the reconciliation, Haoba and Meitei Lambu sing a khutlang eshei awai akhum.

The 'denouement' commences as Haoba joins Nurabi and her seven colleagues in cultivating the pam (jhum). While they diligently work the soil, Haoba experiences an unexpected bee sting. Together, they track down the bee's origin and uncover a beehive. Together, they harvest the beehive and relish it. Following this brief diversion, they return to their task of tilling the jhum. When Haoba gets stung by the bees, Nurabi playfully remarks, "Let your pain subside, but the bulge should remain," thereby maintaining the central theme of their performance.

While tilling the pam, the workers will heave Ho yanse! He yallu (let us dig) and act as digging the soil. The performers make a complete round digging the field, and the performance comes to an end after the louka eshei (end of work song) is sung by the maibi.

Figure 4

Lairoi Numit including Haoba Nurabi Khumei at Umanglai Haraoba (Kanglei) Festival, 2013  :: 07 December 2013

Figure 4 Haoba is at the Spot Where the Beehive is Ningthoujam (2013, c)

 

The seven co-workers form a group who demonstrate typical movements and gestures such as tilling, sowing seeds, gathering food, and harvesting. Their actions and functions are restricted to the particular activity they are assigned to. Like the Ramlila of Kashi described by Schechner (2015), Haoba-Nurabi is also a “total theatre of inclusion and immersion, theatre where event swallows the participants (p.133). Haoba-Nurabi evokes a wide range of emotions within the audience. Functioning as a fertility rite, the characters, particularly Haoba and Nurabi, engage in actions and dialogues that, by contemporary standards, may be considered provocative and indecorous. The character is conceived as an annoying and loud individual with comic fervour to provide comedic interludes to the audience while his tussle with Nurabi continues unabated. Haoba interacts with the audience, brings laughter, and blushes to the young girls and boys with his sexually explicit pantomime. The act is like the ‘live communication’ model of Sircar (2009) where the performers and the audience interact on multiple levels, including the spectator-to-spectator communication.  

Ritual actualisation apart, true entertainment is provided by Haoba and Nurabi through their interaction, which is a display of power and love through allegorical movements and dialogues. Nurabi is acted by a maibi who is already well-versed in the rites and rituals and trained in singing and dancing. Metaphorically, the two principal characters convey to the spectators the intent of the interaction: fertility and agricultural rites. To cite an example, Haoba chases Nurabi like a stag pursues a doe during the mating season. Nurabi responds Haoba’s approaches with typical cries and gestures. As previously mentioned, this performance is distinguished by its intricate costumes, extravagant movements, exaggerated gestures, witty dialogues, mimicry of sounds, exaggerated props, musical accompaniment, and comical makeup. Haoba's amusing antics and clownish acts serve as a deeper exploration of their symbolic defiance. This disruption may serve as a means to promote reconciliation in the wake of certain conflicts and divisions among the lovers. Unlike other aspects of the festival, there are no conflicting elements or opposing forces present in these rituals and actions within the broader context of Lai Haraoba. Seen as a whole, the act reads like Turner (1982) ‘social drama’ model, where norm-goverened social life is interrupted by the breach of relationships which leads to a state of crisis and goes through redressive means and ultimately achieves reconciliation (92).

The state of crisis created by Haoba cannot be found in any other aspect of Lai Haraoba. Haoba does a profaning of the sacred space by consecrating at the sacred ground out of pain (bee sting). However, this transgression is part of the elaborate ritual of procreation and wellness the spectators (the village and villagers) will receive from the propitiated deities. Clowning by Haoba can be seen as, “[…] uncovering of the multiple strands of sensorial information whose combination and structuration aim at creating a coherent, albeit often surprising, experience in the minds of the spectators” (10), as Bouissac (2015) puts it. However, Haoba achieves subversion of the space and its sanctity through suggestive dialogues and explicit gestures. It is as if he has been given the licence to do anything within the ritualistic codes and conventions. At times, during Lai Haraoba, event organisers may request actors to incorporate more mature content into their performances. Nevertheless, we often witness a more restrained performance that does not deviate significantly from the primary objective of the enactment.

 

6. Conclusion

Since people's actions are often guided by their perception of what holds significance, engaging in ritual performances can have substantial social implications. Lai Haraoba can be aptly described as "cumulative theatre", where the constituent elements were added gradually. due to its inclusive nature, involving the entire village or the area where the deities are believed to hold sway. The performers, encompassing singers and dancers, are drawn from the local community, and the propitiatory rituals cannot unfold without their active participation. As previously mentioned, it stands as one of the paramount cultural phenomena in Manipur, bearing immense religious and historical significance. The festival is rich with intricate layers of meaning and symbolism, offering a profound portrayal of diverse facets of Manipuri mythology and cosmology and how they are enacted in front of spectators year after year.

However, it is still astonishing how Lai Haraoba has withstood the test of time and obstruction in the land devastated by poverty and successive wars. On top of that, king’s patronage also stopped after Hinduism made inroads in the 17th century. Then came the infamous Seven Years of Devastation (1819-1826) brought by the Burmese invaders, which wiped out the Meitei population from the valley of Manipur and sent many from Manipur to take refuge in Assam, Tripura, and Bangladesh. Institutes which were under the king, such as Maiba Loishang (Institute of Shamans), Pena Loishang (Institute of Pena), and Pandit Loishang (Institute of Scholars) continued to act as the lifeline of the Lai Haraoba in codifying the rituals and conventions which every lai haraoba must follow. However, there has been a decline in the power and reach of these institutes after the king lost his power and democracy was adopted in an independent India. With the decline of these institutes, Lai Haraoba in Manipur has faced many ups and downs. The open spaces have been roofed and turned into mandap-like structures. Sacred groves have shrunk, and trees have been felled due to urbanisation. Keeping the festival strictly within the prescribed codes and conducts has been an uphill task for many years. On top of this, there is the issue of fundraising to organise such an elaborate festival, which can run for weeks and months.

Despite the challenges and apparent circumstances, Manipuris continue to perform their rituals and enactments, which they believe are fundamentally human duties and experiences. Some of the rituals have ceased to exist after kingship is abolished, and other cultures and faiths have superimposed some festivals. However, the theatrical experience Manipuris get from this episode is the enjoyment and realisation of inner and outer harmony. Therefore, Manipuris must safeguard such performances to continue the collective psyche and retain their cultural codes encapsulated in these festivals, rituals, and performances. These performances have become the cultural codes and values they have cultivated over a period of time. Unless enough people held and acted on these values the society could not survive, and through the performance of ritual they are kept constantly in the minds of the performers, and so the maintenance of the social system is secured Beattie (2005), 209).

 

CONFLICT OF INTERESTS

None. 

 

ACKNOWLEDGMENTS

I would like to acknowledge two persons who helped me and guided me while researching for this paper. They are (Late) Mayanglambam Gourachandra of Peoples’ Museum, Kakching and Naoroibam Indramani, former Archivist and cultural activist.

 

REFERENCES

Awasthi, S. (2001). Performance Traditions in India. National Book Trust.  

Beattie, J. (2005). Other Cultures: Aims, Methods and Achievements in Social Anthropology. Routledge.     

Bell, C. (2009). Ritual Theory, Ritual Practice. Oxford.  

Bouissac, P. (2015). The Semiotics of Clowns and Clowning: Rituals of Transgression and the Theory of Laughter. Bloomsbury.  

Eliade, M. (1959). The Sacred and Profane: The Nature of Religion (William R. Trask, trans). Hartcourt, Inc.  

Geertz, C. (1980). Negara: the Theatre State in Nineteenth-Century Bali. Princeton University Press.  

Gourachandra, M. (2015). Kakching Haraoba. People’s Museum Kakching.  

Ningthoujam, A. (2013, a). Lairoi Numit Including Haoba Nurabi Khumei at Umanglai Haraoba (Kanglei) Festival [photograph].  

Ningthoujam, Ashok (2013, b). Lairoi Numit Including Haoba Nurabi Khumei at Umanglai Haraoba (Kanglei) Festival [photograph].  

Ningthoujam, Ashok (2013, c). Lairoi Numit Including Haoba Nurabi Khumei at Umanglai Haraoba (Kanglei) Festival [photograph].   

Premchandra, K. (2022). Meitei Umanglai Haraoba and the Order of Nature.” Transcript: An E-Journal of Literary and Cultural Studies, 2(1), 44-59. https://doi.org/10.53034/Transcript.2022.v02.n01.003.

Schechner, R. (2005a). Performance Theory. Routledge.   

Schechner, R. (2015). Performed Imaginaries. Routledge.  

Sen, S. (1960). A History of Bengali Literature. Sahitya Akademi.  

Singh, A. S. (1980). Manipuri Sumang Lila Amasung Theatre. Manipuri Sahitya Parishad.    

Singh, C. M. (2012). Panthoipi Khongkul. Manipuri Sahitya Parishad.

Singh, K. N. (1963). Meitei Lai Haraoba.  

Singh, M. (2013). A History of Manipuri Literature. Sahitya Akademi.  

Singh, W. L. (2008). Lai Haraoba.

Sircar, B. (2009). Three Plays: Procession, Bhoma, Stale News. Seagull.  

Somorendra, A. (2000). Manipuri Drama. Indian Literature, 44 (2(196)), 32–39.  

Turner, V. (1982). From Ritual to Theatre: The Human Seriousness of Play. PAJ Publications.  

 

 

 

 

 

 

 

 

 

 

 

 

 

 

 

 

 

 

 

 

 

 

 

 

 

 

 

 

 

 

Creative Commons Licence This work is licensed under a: Creative Commons Attribution 4.0 International License

© ShodhKosh 2024. All Rights Reserved.